Построено/строится трестом Челябметаллургстрой
Журнал "На стройках России" № 4, 1972 г. весь посвящён тресту Челябметаллургстрой. Среди инженерно-технических текстов в самом начале имеются фотографии и описания, представляющие интерес для краеведческих изысканий. Особенно это фото - строящийся торговый центр с рядом стоящим троллейбусом (вроде как МТБ-82), переделанным в бытовку. Не помню, выкладывался ли где-нибудь данный снимок.

Ордена Ленина трест Челябметаллургстрой, недавно отметивший свое тридцатилетие, принадлежит к числу ведущих строительных организаций страны. Его коллектив внес значительный вклад в развитие черной металлургии. Одно из предприятий этой отрасли — Челябинский металлургический завод — по праву можно назвать детищем треста. Первые страницы в славную историю коллектива Челябметаллургстроя были вписаны в трудные годы Великой Отечественной войны, в самом начале которой тресту поручили строительство нового крупного металлургического предприятия и его рудной базы, меньше, чем через 2 года завод, строившийся в сложнейших условиях военного времени, выдал первую сталь. Трудовой подвиг строителей был отмечен высокими правительственными наградами, а Челябметаллургстрою вручено Красное Знамя государcтвeннoгo кoмитeтa обороны на вечное хранение.
В послевоенные годы коллектив треста закрепил и преумножил свои славные традиции. Им построены крупнейшие комплексы и цехи на Челябинском металлургическом заводе — доменные, мартеновские, электросталеплавильные, прокатные, термические, а также коксовые батареи и многое другое. Кроме того, целый ряд других крупных предприятий индустриального Челябинска — заводы электродный, «Теплоприбор», ферросплавный, автоприцепов, «Оргстекло», железобетонных напорных труб, лакокрасочный — полностью или частично построены трестом. В металлургическом районе Челябинска трестом возведен по сути дела целый город, сооружены крупные жилые массивы в других районах областного центра, введены в эксплуатацию десятки зданий школ, больниц, учебных заведений, клубов, Дворцов культуры, а также многие сельскохозяйственные объекты. За образцовое выполнение заданий семилетнего плана, прежде всего по вводу в действие производственных мощностей черной металлургии, трест Челябметаллургстрой награжден орденом Ленина.
Стоящие перед трестом задачи большого народнохозяйственного значения коллектив успешно решает благодаря постоянному ускорению технического прогресса в строительстве, совершенствованию его организации, применению современных методов планирования и управления. Это видно на примере сооружения крупнейших металлургических объектов, построенных за последние годы. Ведущее место среди них занимает целый ряд комплексов, входящих в состав прокатного цеха № 3 челябинского металлургического завода (рис. 1). Среди них блюминг-автомат «1300» (рис. 2), построенный быстрее нормативных сроков — за 15 мес.; непрерывно-заготовочный стан, введенный в эксплуатацию за 11 мес. вместо 17 мес, по нормам, который обеспечил челябинские прокатные станы заготовками собственного производства; мелкосортный стан «250» (рис. 3), выпускающий горячекатанную арматуру периодического профиля и другие виды проката. При строительстве этих комплексов широко применялись метод законченного нулевого цикла, безвыверочный монтаж стальных конструкций, сборные и сборномонолитные конструкции подземного хозяйства, объемные элементы внутрицеховых помещений, крупноузловой монтаж технологического оборудования. На строительстве блюминга «1300» впервые в стране применена система СПУ и тем самым положено начало широкому внедрению в тресте АСУ на строительстве всех крупных комплексов.
В минувшей пятилетке Челябметаллургстрой ввел в эксплуатацию на металлургическом заводе и комплекс кислородно-конверторного цеха, создав тем самым новое для предприятия производство конверторной стали общей мощностью 2200 тыс. т в год. В этот комплекс, помимо собственно конверторного цеха с 3 конверторами (рис. 4), входит целый ряд других объектов, в том числе отделение шлакопереработки, доломито-обжиговое отделение с вращающейся печью (рис. 5). Ввод отделения шлакопереработки позволил эффективно использовать отходы металлургического производства для нужд строителей. Его продукция: гранулированные шлаки — сырье для выпуска цемента: шлаковая пемза, применяемая в качестве легкого наполнителя для несущих и ограждающих конструкций зданий; доменный щебень — превосходный материал для производства бетонов, в том числе огнеупорных, жаропрочных. В отделении шлакопереработки намечено построить также цех минераловатных плит — эффективного утеплителя для покрытий и комплексных панелей ограждающих конструкций.
Коллектив треста внес большой вклад в застройку Челябинска. При его участии возведены городской дворец спорта «Юность» (рис. 6), плавательный бассейн для работников треста (рис. 7) и многие другие общественные здания. На рис. 8 — один из многих микрорайонов Челябинска, застроенных трестом, который только за годы минувшей пятилетки ввел в эксплуатацию жилые дома общей площадью более 700 тыс. м². В этом микрорайоне по ул. Кирова в 1970 г. введены первые в Челябинске 9-этажные полносборные дома серии 9-ЧПД, стеновые панели которых изготовлены из шлакопемзобетона. Эти здания отличаются прогрессивными конструктивными решениями, улучшенной планировкой. В первом году новой пятилетки трестом сданы в эксплуатацию такие дома общей площадью 74 тыс. м², то есть примерно половина всего построенного за год жилья.






Девятиэтажки вокруг школы № 69 (ныне 97-й лицей). На самом деле составителями некорректно подобрана фотография - те два полносборных дома построены на противоположной стороне ул. Кирова, да и числятся не по ней.

В сообщении ЦСУ СССР об итогах выполнения плана первого года пятилетки среди введенных в эксплуатацию важнейших народнохозяйственных объектов назван проволочный стан «250» на челябинском металлургическом заводе. Коллектив Челябметаллургстроя, построивший этот стан быстрее норм — всего за 12 мес., взял хороший старт в девятой пятилетке. Сейчас главная задача треста, определенная основным направлением капитального строительства в пятилетке, — расширение и реконструкция этого крупнейшего металлургического завода, что позволит в короткие сроки нарастить его мощности, освоить выпуск новых эффективных видов продукции. Полным ходом идут работы на пусковом объекте 1972 г. — реконструкции доменной печи № 1 (рис. 9), где предстоит заменить старую домну на агрегат значительно большего объема, перестроить литейный двор, воздухонагреватели с дымовой трубой, пылеуловители, бункерную эстакаду, объекты электроснабжения, расширить оборотный цикл. Специфика реконструкции потребовала применить принципиально новые технические решения. В частности, сооружение домны ведется методом надвижки, что позволит до минимума сократить перерыв в выпуске чугуна.
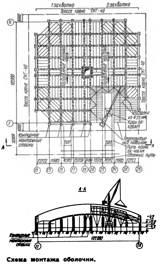
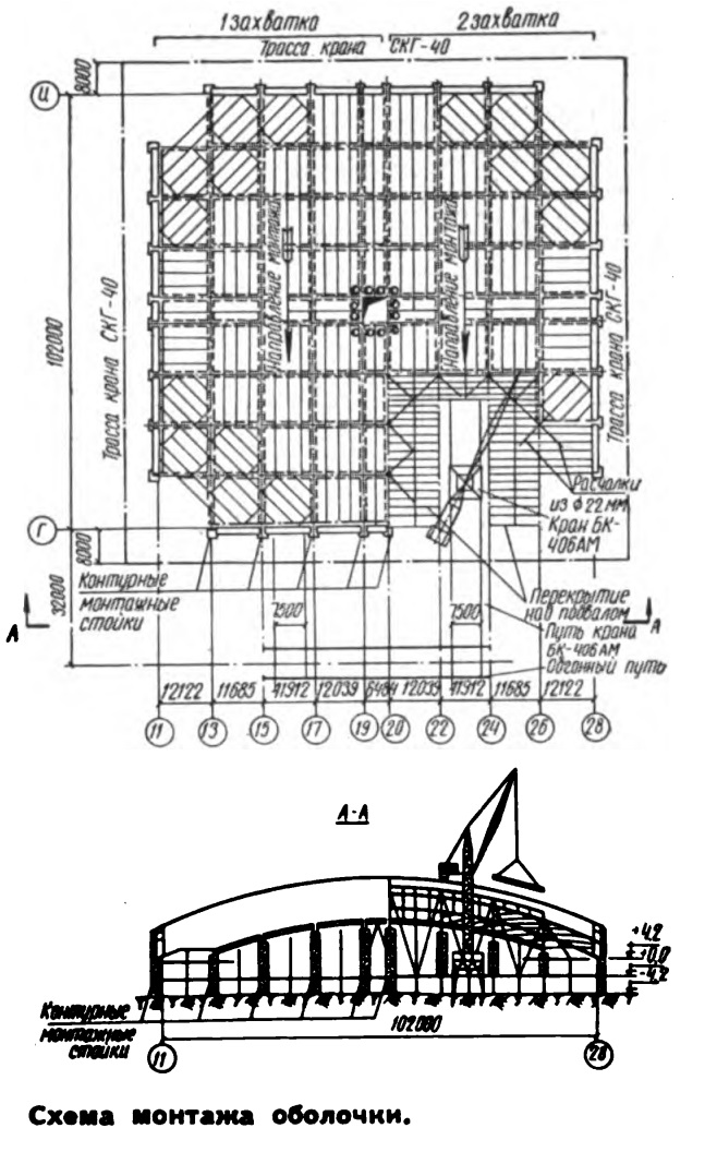
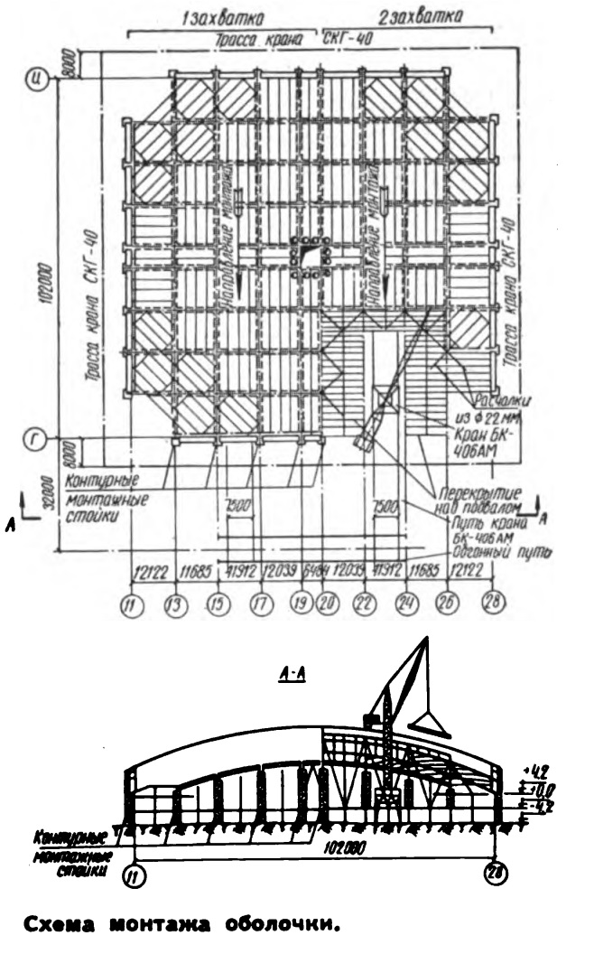
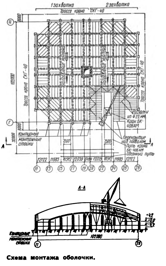
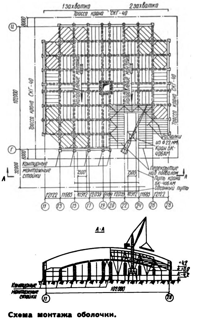
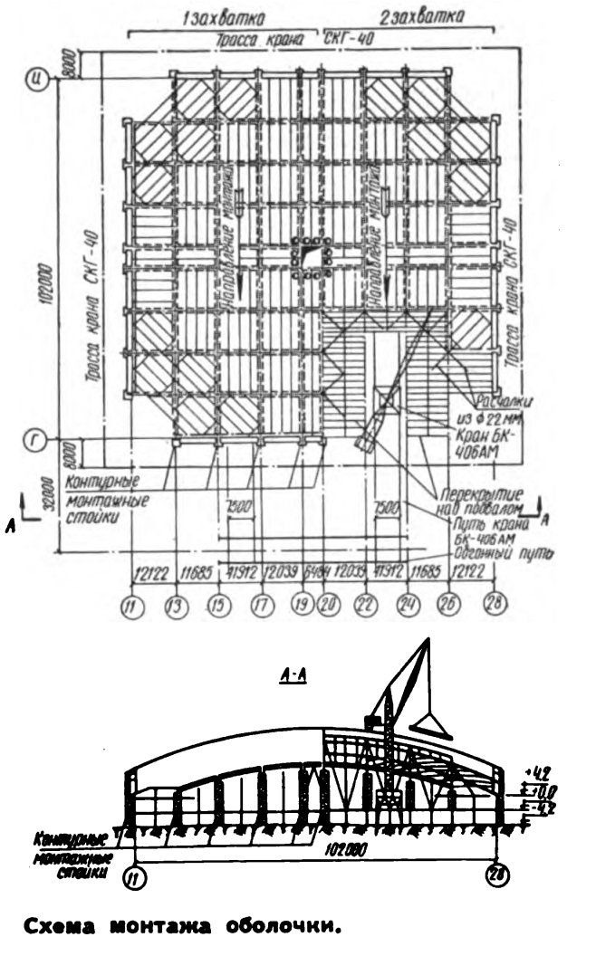
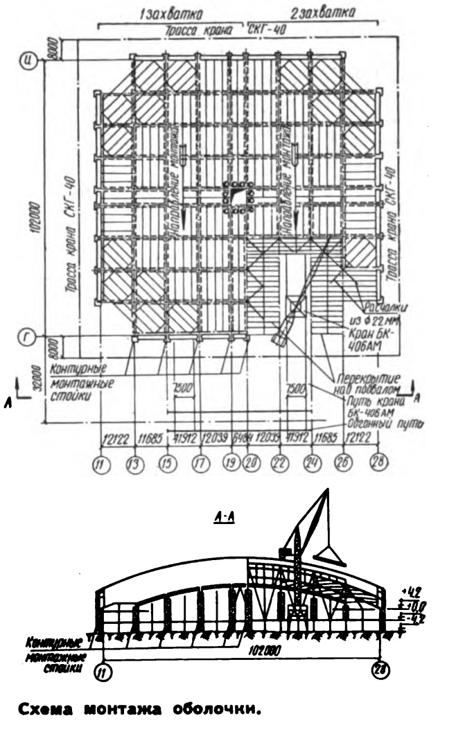
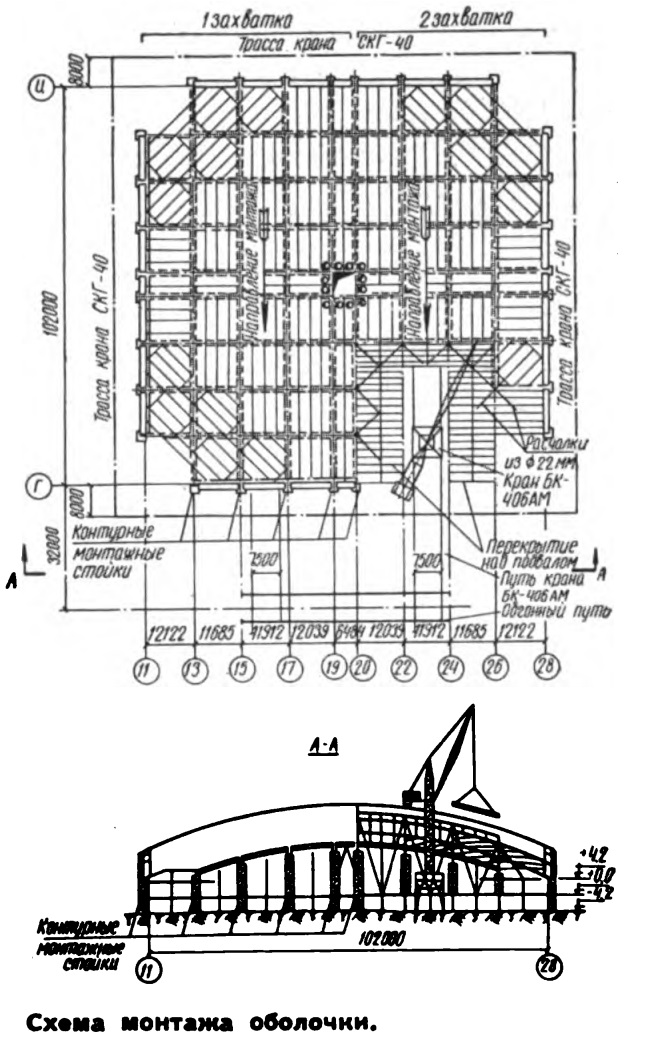
Крупнейший объект треста в нынешней пятилетке — комплекс цеха холодного проката, который будет выпускать новый эффективный вид металлопродукции — тонкий нержавеющий лист. О масштабах сооружений этого комплекса дает представление такая цифра: площадь главного корпуса, где ведется сейчас монтаж металлоконструкций (рис. 10) — около 30 га. Наиболее крупное и интересное в инженерном отношении общественное здание, строящееся сейчас трестом — городской торговый центр (рис. 11). Площадь его главного зала — более 10 тыс. м². Здание перекрывается цилиндрической оболочкой из сборных железобетонных панелей размером 3 х 12 м, которые опираются на контурные железобетонные балки с преднапряженной канатной арматурой. Практически вся оболочка держится на 4 угловых опорах. Кровля будет выполнена из фольгоизола, в качестве утеплителя применен пенополистирол. Торговый центр крытым переходом соединяется с рестораном, покрытие которого будет выполнено из конструкций складчатого типа. Славные традиции коллектива Челябметаллургстроя — коллектива творческого, новаторского, его богатый опыт — залог того, что трест успешно решит те грандиозные задачи, которые стоят перед ним в девятой пятилетке.
В. Леров

В качестве дополнения к торговому центру - изображения монтажа сборной оболочки двоякой кривизны (журнал "На стройках России" № 8, 1970).


Общие виды статей в журналах






Источники: https://vk.com/doc141762089_551491457, https://vk.com/doc141762089_551490247
Ордена Ленина трест Челябметаллургстрой, недавно отметивший свое тридцатилетие, принадлежит к числу ведущих строительных организаций страны. Его коллектив внес значительный вклад в развитие черной металлургии. Одно из предприятий этой отрасли — Челябинский металлургический завод — по праву можно назвать детищем треста. Первые страницы в славную историю коллектива Челябметаллургстроя были вписаны в трудные годы Великой Отечественной войны, в самом начале которой тресту поручили строительство нового крупного металлургического предприятия и его рудной базы, меньше, чем через 2 года завод, строившийся в сложнейших условиях военного времени, выдал первую сталь. Трудовой подвиг строителей был отмечен высокими правительственными наградами, а Челябметаллургстрою вручено Красное Знамя государcтвeннoгo кoмитeтa обороны на вечное хранение.
В послевоенные годы коллектив треста закрепил и преумножил свои славные традиции. Им построены крупнейшие комплексы и цехи на Челябинском металлургическом заводе — доменные, мартеновские, электросталеплавильные, прокатные, термические, а также коксовые батареи и многое другое. Кроме того, целый ряд других крупных предприятий индустриального Челябинска — заводы электродный, «Теплоприбор», ферросплавный, автоприцепов, «Оргстекло», железобетонных напорных труб, лакокрасочный — полностью или частично построены трестом. В металлургическом районе Челябинска трестом возведен по сути дела целый город, сооружены крупные жилые массивы в других районах областного центра, введены в эксплуатацию десятки зданий школ, больниц, учебных заведений, клубов, Дворцов культуры, а также многие сельскохозяйственные объекты. За образцовое выполнение заданий семилетнего плана, прежде всего по вводу в действие производственных мощностей черной металлургии, трест Челябметаллургстрой награжден орденом Ленина.
Стоящие перед трестом задачи большого народнохозяйственного значения коллектив успешно решает благодаря постоянному ускорению технического прогресса в строительстве, совершенствованию его организации, применению современных методов планирования и управления. Это видно на примере сооружения крупнейших металлургических объектов, построенных за последние годы. Ведущее место среди них занимает целый ряд комплексов, входящих в состав прокатного цеха № 3 челябинского металлургического завода (рис. 1). Среди них блюминг-автомат «1300» (рис. 2), построенный быстрее нормативных сроков — за 15 мес.; непрерывно-заготовочный стан, введенный в эксплуатацию за 11 мес. вместо 17 мес, по нормам, который обеспечил челябинские прокатные станы заготовками собственного производства; мелкосортный стан «250» (рис. 3), выпускающий горячекатанную арматуру периодического профиля и другие виды проката. При строительстве этих комплексов широко применялись метод законченного нулевого цикла, безвыверочный монтаж стальных конструкций, сборные и сборномонолитные конструкции подземного хозяйства, объемные элементы внутрицеховых помещений, крупноузловой монтаж технологического оборудования. На строительстве блюминга «1300» впервые в стране применена система СПУ и тем самым положено начало широкому внедрению в тресте АСУ на строительстве всех крупных комплексов.
В минувшей пятилетке Челябметаллургстрой ввел в эксплуатацию на металлургическом заводе и комплекс кислородно-конверторного цеха, создав тем самым новое для предприятия производство конверторной стали общей мощностью 2200 тыс. т в год. В этот комплекс, помимо собственно конверторного цеха с 3 конверторами (рис. 4), входит целый ряд других объектов, в том числе отделение шлакопереработки, доломито-обжиговое отделение с вращающейся печью (рис. 5). Ввод отделения шлакопереработки позволил эффективно использовать отходы металлургического производства для нужд строителей. Его продукция: гранулированные шлаки — сырье для выпуска цемента: шлаковая пемза, применяемая в качестве легкого наполнителя для несущих и ограждающих конструкций зданий; доменный щебень — превосходный материал для производства бетонов, в том числе огнеупорных, жаропрочных. В отделении шлакопереработки намечено построить также цех минераловатных плит — эффективного утеплителя для покрытий и комплексных панелей ограждающих конструкций.
Коллектив треста внес большой вклад в застройку Челябинска. При его участии возведены городской дворец спорта «Юность» (рис. 6), плавательный бассейн для работников треста (рис. 7) и многие другие общественные здания. На рис. 8 — один из многих микрорайонов Челябинска, застроенных трестом, который только за годы минувшей пятилетки ввел в эксплуатацию жилые дома общей площадью более 700 тыс. м². В этом микрорайоне по ул. Кирова в 1970 г. введены первые в Челябинске 9-этажные полносборные дома серии 9-ЧПД, стеновые панели которых изготовлены из шлакопемзобетона. Эти здания отличаются прогрессивными конструктивными решениями, улучшенной планировкой. В первом году новой пятилетки трестом сданы в эксплуатацию такие дома общей площадью 74 тыс. м², то есть примерно половина всего построенного за год жилья.
Девятиэтажки вокруг школы № 69 (ныне 97-й лицей). На самом деле составителями некорректно подобрана фотография - те два полносборных дома построены на противоположной стороне ул. Кирова, да и числятся не по ней.
В сообщении ЦСУ СССР об итогах выполнения плана первого года пятилетки среди введенных в эксплуатацию важнейших народнохозяйственных объектов назван проволочный стан «250» на челябинском металлургическом заводе. Коллектив Челябметаллургстроя, построивший этот стан быстрее норм — всего за 12 мес., взял хороший старт в девятой пятилетке. Сейчас главная задача треста, определенная основным направлением капитального строительства в пятилетке, — расширение и реконструкция этого крупнейшего металлургического завода, что позволит в короткие сроки нарастить его мощности, освоить выпуск новых эффективных видов продукции. Полным ходом идут работы на пусковом объекте 1972 г. — реконструкции доменной печи № 1 (рис. 9), где предстоит заменить старую домну на агрегат значительно большего объема, перестроить литейный двор, воздухонагреватели с дымовой трубой, пылеуловители, бункерную эстакаду, объекты электроснабжения, расширить оборотный цикл. Специфика реконструкции потребовала применить принципиально новые технические решения. В частности, сооружение домны ведется методом надвижки, что позволит до минимума сократить перерыв в выпуске чугуна.
Крупнейший объект треста в нынешней пятилетке — комплекс цеха холодного проката, который будет выпускать новый эффективный вид металлопродукции — тонкий нержавеющий лист. О масштабах сооружений этого комплекса дает представление такая цифра: площадь главного корпуса, где ведется сейчас монтаж металлоконструкций (рис. 10) — около 30 га. Наиболее крупное и интересное в инженерном отношении общественное здание, строящееся сейчас трестом — городской торговый центр (рис. 11). Площадь его главного зала — более 10 тыс. м². Здание перекрывается цилиндрической оболочкой из сборных железобетонных панелей размером 3 х 12 м, которые опираются на контурные железобетонные балки с преднапряженной канатной арматурой. Практически вся оболочка держится на 4 угловых опорах. Кровля будет выполнена из фольгоизола, в качестве утеплителя применен пенополистирол. Торговый центр крытым переходом соединяется с рестораном, покрытие которого будет выполнено из конструкций складчатого типа. Славные традиции коллектива Челябметаллургстроя — коллектива творческого, новаторского, его богатый опыт — залог того, что трест успешно решит те грандиозные задачи, которые стоят перед ним в девятой пятилетке.
В. Леров
В качестве дополнения к торговому центру - изображения монтажа сборной оболочки двоякой кривизны (журнал "На стройках России" № 8, 1970).
Общие виды статей в журналах
Источники: https://vk.com/doc141762089_551491457, https://vk.com/doc141762089_551490247
